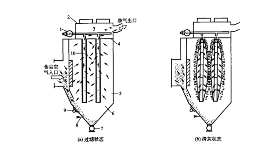
脉冲袋式除尘器一般采用圆形滤袋,按含尘气流运动方向分为侧进风、下进风两种形式。 这种除尘器通常由上箱体(净气室〉、中箱体、灰斗、框架以及脉冲喷吹装置等部分组成。其 工作原理如图2-13所示。
工作时含尘气体从箱体下部进人灰斗后,由于气流断面积突然扩大,流速降低,气流中一 部分颗粒粗、密度大的尘粒在重力作用下,在灰斗内沉降下来;粒度细、密度小的尘粒进人袋 滤室后,通过滤袋表面的惯性、碰掩、筛滤、拦截和静电等综合效应,使粉尘沉降在滤袋表面 上并形成粉尘层。净化后的气体进入净气室由排气管经风机排出。
袋式除尘器的阻力值随滤袋表面粉尘层厚度的增加而增加。在此过程中除尘器进行过滤的 任一时间的阻力值,可以由下式求出:^p=/xvc(.A+Bpvovct~) (2-1)式中,vc为过滤风速,m/s; f,为气体动力黏度系数,Pa • s; pvo为气体初始含尘量, kg/m3, A, B为系数,取决于滤料的孔隙率,几何特性和气体动力特性,其值用试验的方法 确定;《为时间,s。

图2-13脉冲除尘器工作原理图 1 一脉冲阀I 2—净气宰| 3—晡吹管> 4一花板丨5—箱体! 6—灰斗> 7_回转阀:
8_料位计> 9一振打器> 10_»袋
当其阻力值达到某一规定值时,必须进行喷吹清灰。
在给定除尘器压降的情况下,由下式可以求出必需的清灰周期~ :
tp = ^p/^tv,; —A/(Bvc—pvo) (2-2)式中,符号意义同前。
但是应当指出,为达到较高的气体除尘效率,在清灰时从滤料上只是破坏和去掉一部分粉 尘层,而不是把滤袋上的粉尘全部清除掉。
脉冲喷吹的淸灰是由脉冲控制仪(或PLC)控制脉冲阀的启闭,当脉冲阀开启时,气包 的压缩空气通过脉冲阀经喷吹管上的小孔,向滤袋口喷射出一股高速高压的引射气流,形成一 股相当于引射气流体积若干倍的诱导气流,一同进人滤袋内,使滤袋内出现瞬间正压,急剧膨 胀;沉积在滤袋外侧的粉尘脱落,掉人灰斗内,达到清灰目的。
