筛焦楼地面除尘站_推焦地面除尘站_装煤地面除尘站_焦化厂地面除尘站_河北阔海 - 河北阔海

河北阔海是专业生产除尘器,布袋除尘器,脉冲除尘器,机侧地面除尘站,焦化厂地面除尘站,焦炉地面除尘站,出焦地面除尘站,装煤地面除尘站,推焦地面除尘站,筛焦楼地面除尘站
全国服务热线:18903178757
河北阔海是专业生产除尘器,布袋除尘器,脉冲除尘器,机侧地面除尘站,焦化厂地面除尘站,焦炉地面除尘站,出焦地面除尘站,装煤地面除尘站,推焦地面除尘站,筛焦楼地面除尘站.
当前位置: 网站首页 > 除尘设备产品 > 袋式除尘器 > LFEF系列立窑玻纤袋式除尘器
LFEF系列立窑玻纤袋式除尘器

LFEF系列立窑玻纤袋式除尘器

LFEF(Ⅲ)型立窑玻纤袋式除尘器是国家建材局合肥水泥研究设计院专门Φ3.2×10m、Φ2.9/3.0×10m、Φ2.2×8m、Φ2.2×8m、机立窑废气除尘开发研制的新产品,荣获1997年度部级科技进步奖,并被国家科委列入1997年度“国家级新产品”,1993年高新技术精选项目,1994年度被国环保局列为佳实用技术。
产地:河北省泊头市交河开发区
厂家:【河北阔海】
电话:0317-8041118  业务QQ:点击这里给我发消息

LFEF系列立窑玻纤袋式除尘器详细内容

一、产品概述  

LFEF(Ⅲ)型立窑玻纤袋式除尘器是国家建材局合肥水泥研究设计院专门Φ3.2×10m、Φ2.9/3.0×10m、Φ2.2×8m、Φ2.2×8m、机立窑废气除尘开发研制的新产品,荣获1997年度部级科技进步奖,并被国家科委列入1997年度“国家级新产品”,1993年高新技术精选项目,1994年度被国环保局列为佳实用技术。该机采用微机控制,分室反吹,定时、定阻清灰,温度检测显示等措施,使玻纤袋除式尘器在机立窑废气除尘中能高效、稳定运行,烟囱出口排放浓度低于国家规定的100mg/mn3排放标准可达(<50mg/mn3)。该设备可不停机分室换袋,操作简单,安全可靠,运行费用低,是解决机立窑烟气除尘的有效设备。 

二、结构

  该设备由含尘气体入口至净化烟气出口,本体结构由进气管路、进气室、袋室、灰斗、排灰阀、出口管道及反吹风系统和清灰控制系统所组成。

  除尘器本体为全钢结构,并设计有防热膨胀机构措施,外壳采用LBY型轻质岩棉板双层保温,外表用#=0.5镀锌板防护,并采用抽拉铆钉新工艺安装,花板用冷冲压压延滚压成型工艺,即增加强度又保证设备质量。

   除尘器采用的是经RH配方处理的耐高温玻纤袋,其抗折性、耐磨性、强度及热冲击性能优良。三、工作原理

  (1) 过滤:含尘烟气经烟气经烟道进入进气管,由上站进入进气室,部分粗粒由惯性而落入灰斗,其余部分烟气粉尘进入滤袋,经内表面过滤后,进入袋室,然后经由通风槽、排气阀、出气管道由排风机排入大气,该设备为上部进气,负压振作风滤式玻纤袋除尘器。

  (2) 清灰及自动控制: 除尘器进行一段时间后,滤袋内表面捕集的粉尘增厚,除尘器的运行阻力上升,当增加一定值后,这就需要对滤袋进行清灰,即通过外力将滤袋内表面上附着的粉尘清除掉,使除尘器的运行阴力下降,阴力下降下一定值后,该室滤袋又投入正常运行。

  整个清灰过程主要是通过反吹风来进行的,当阻力上升需要清灰时,微机指令关闭排气阀,打开反吹风阀,将原来膨胀的滤袋在反吹风的作用下压瘐变形,使其达到清掉滤袋内表面附着粉尘的目的。清灰落入灰斗,经排灰阀进入绞刀排出,整个清灰过程是分室轮流进行的,不影响除尘器的正常工作。

  定时清灰是按时间程序,各室根据可调时间参数自动进行轮流清灰,除尘器清灰周期可根据工艺要求设定调整。

  除上述控制方法外,还设置有手动控制机构,可人工进行正常清灰。

四、温度控制

  立窑烟气温度一般在60-300℃ 范围内波动,烟气含湿量在4-12%范围左右,为了防止除尘器的结露和糊袋以及温度过高发生烧袋等恶性事故的发生,特采取如下措施;

  (一)袋除尘器的进气管道、本体、及灰斗要采取保温措施,以防止除尘器结露

  (二)在除尘器的进气口、排气口等处安装有温度检测与自动报警装置,废气一旦超过除尘器的使用温度范围,则发出报警自动采取温控措施,以确保除尘器安全运行。

五、主要技术参数

参数规格 LFEF10×358 LFEF9×358 LFEF8×358 LFEF7×358 LFEF6×358 LFEF5×358 LFEF4×358
处理风量(m2/h) 10700 96600 85000 75000 64000 53000 43000
过滤面积(m2) 3580 3220 2864 2506 2148 1790 1432
单元数(室) 10 9 8 7 6 5 4
滤条数(条) 880 790 704 616 528 440 352
过滤风速(m/min) <0.5 <0.5 <0.5 <0.5 <0.5 <0.5 <0.5
设备阻力(Pa) <1570 <1570 <1570 <1570 <1570 <1570 <1570
高处理温度(℃) 280 280 280 280 280 280 280
效率(%) >99.8 >99.8 >99.8 >99.8 >99.8 >99.8 >99.8
配用窑型(m) ф3.2×12   ф3.2×10 ф2.9/3.0×10 ф2.5/2.8×10 ф2.3×10/8.5 ф2.2/2.0×8

六、安装与维修

  1、本除尘器为全钢结构外壳,因此,必须严格按照设计图纸安装与验收;

  2、进气管、排气管、各种阀门,排灰绞刀等与设备的联接要用填料,整个除尘设备系统要保证其气密性。

  3、滤袋的捆扎安装滤袋要特别强调高质量,在搬运过程特别小心防止滤袋与周围硬物,尖角物件接触,严禁踩袋、重压,折叠,以防止滤袋出现破洞和裂口影响除尘器效果。

  4、除尘器运行时应随时监视排放情况,如发现烟囱冒灰短路,应查明原因,如果滤袋破损,应更换新袋。

  5、袋室更换滤袋,需严格按操作规程进行,并有监护人员,以防止意外事故发生。

  6、除尘器引风机停止运行前必须进行清灰,把滤袋上的积灰清除干净,同时将灰斗内的灰尘排净,以防停机后灰尘干结于滤袋内和除尘器灰斗内,影响除尘器效率和设备使用寿命。

七、设备的调试与使用

   1、除尘器本体部分

  1.1、在设备安装完毕后,应将袋室、进气室、灰斗等部件内的杂物清除干净,检查各传动零部件,看是否灵活,并注以相应的润滑剂。

  1.2、检查各滤袋是否完好,布袋应拉紧、挂紧(大约拉力为30㎏力左右),入孔门是否严密,如不严密,需整形或更换密封填料。

  1.3、检查各仪表框与除尘器各电器执行元件的接线是否正确。全部检查完毕后可以按如下程序调试试车。

   1.4、接通压缩空气,检查压缩空气各管道接头、截止阀、油水分离器、压力表、电磁阀、气缸等气动元件安装是否严密,然后操纵电控装置的开关,向电磁阀输出动作信号,看各气动元件是否正常。

  1.5、起动排灰装置,检查是否合乎工作要求。

  1.6、起动主风机,注意观察除尘器空载运行的工作情况。

  1.7、逐室检查反吹风清灰的情况,看反吸反吹清灰的效果如何。

  1.8、在进出口总管路上测定风量、风速、阻力等数据,以便与设计数据相比较。

  1.9、除尘器开始带尘运行时,不要开启反吹清灰机构,应让灰尘慢慢积聚在滤袋内表面,运行一段时间后,待袋内外压力差达1000Pa 以后再开动清灰装置,进行反吹清灰,以利于除尘滤袋内表面建立原始粉尘层,当清灰后压差恢复到500Pa 时即可停止反吹清灰,此时可将反复实验后所得佳效果的控制程序固定在微机数据库内。

  除尘器正常运行后,应根据情况随时清除灰斗内积灰,以防积灰过多,增大负荷,损坏电机。

  如果正常运行时滤袋内外压差很小,说明尘气短路,或是滤袋破损,应及时检修或更换滤袋。

  2、电控部份[请参阅LFEF型立窑袋式除尘器PC-电控柜使用说明书]

  2.1 电控清灰的安装

  A、接通差压变送器与单针指示报警仪的信号(其补偿电阻值按电控说明书规定)

  B、将报警仪的上限报警信号与电控仪接通。

  C、将电控仪的输出线控制气缸的电磁阀接通。

  2.2、电控清灰的操作

  在检查连接线路、仪表无误后,调节报警器上限报警阻值后,接通电源,用手动操作,使各部工作正常后,可根据除尘器的风量、粉尘情况(浓度、干湿度)选定清灰程序(应根据设备初调试时的各项技术参数及理论与经验,选择佳程序控制),确定后可进行电控仪自动操作使除尘器清灰进入全自动工作状态。

八、用户须知(供货范围)

  1、除尘器主机包括:箱体、灰斗、框架、楼台、平梯、滤袋装置,本体内进、排风管道和机组本体内的压缩空气管道装置,及各管道上的电控气动阀门及排灰阀。

  2、与设备配套的主引风机,反吹风机,空气压缩机,梳灰装置以及设备以外的进、排气管,压缩空气管路,外部保温材料及保温层防护铁板由用户自理(风机、空气压缩机、输灰装置及保温材料亦可代办)

  3、本设备只能提供主机,基础部分由用户自行考虑,设备的照明由用户自行配置。

  4、除尘器的电控部分,定货时需单独签约,仪表电控柜与本体的联接电缆、电线由用户自理。

  5、本除尘器采用经硅油处理的玻纤布滤料(耐温280℃),本公司提供设备用袋和备用袋。

  6、除尘器的压气系统配有三大辅件,调压阀,油水分离器及压缩空气本体框架内管路,使用时由用户接气源管道供气。

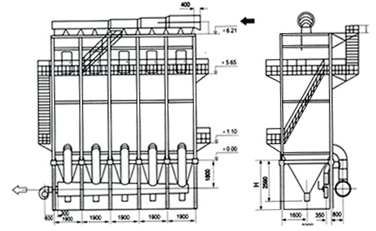
九、外型尺寸图

  说明:
  1、所附除尘器外形图仅供参考,如有变动,以供货时提供为准。
  2、如用户有特殊要求,亦可按用户要求进行特殊设计
  3、如需详细资料,请联系我们,以便得到技术支持。13731707067 九、基本结构图

LFEF系列立窑玻纤袋式除尘器

十、工程案例

LFEF系列立窑玻纤袋式除尘器

LFEF系列立窑玻纤袋式除尘器相关产品

一、产品简介 DMC型脉喷单机袋式除尘器是我厂消化吸收国外同类产品先进技术经改进反设计而成的小型袋除尘器。该除尘器采用高压(0.5~0.7MPa)大流量脉冲阀逐条滤袋喷吹清灰的技术,与国内其它单机相比,具有清灰动能大,清灰效率高的特点。并且体积小,重量轻结构简单紧凑、安装......
一、概述 LFEF型高温玻纤袋除尘器是针对高温烟气除尘开发研制的新产品,该机采用微机PLC控制,分室反吹,定时、定阻清灰,温度检测显示等措施,使玻纤布袋除尘器在高温废气除尘中能高效、稳定运行,烟囱出口排放浓度低于国家规定的100mg/Nm 3 排放标准(可达≤50mg/Nm 3 )......
库顶喷吹脉冲袋式除尘器是用于料仓排气通风除尘,安装 于料仓顶部,由滤袋捕集的粉尘,经压缩空气反吹清灰后,粉 尘仍落人料仓内,省去了一般除尘器所需的进风管道及回收设 备。具有结构紧凑,可自动定时淸灰,使用维修方便等优点。 (1) KMC型库顶喷吹脉冲袋式除尘器 K......
LFS-Ⅰ型 双层布袋机械反吹除尘器 是一种八十年代的新型除尘配件。采用方形箱体机械反吹风除尘器,具有结构紧凑、体积小、处理风量大、节约能源、滤袋寿命长、换袋方便、操作简便、维护工作量小的优点。广泛用于冶金、铸、喷砂、化工、机械、木材、粮食、矿山、建材、耐火、工矿......


除尘设备 |  单机除尘器 |  矿山除尘器 |  锅炉除尘器 |  旋风除尘器 |  袋式除尘器 |  联系我们 |  网站地图 | 
公司名称:【河北阔海】 公司地址:河北省泊头市交河开发区 电话:0317-8041118 
传真:0317-8041117 手机:18903178757 官方网址:http://www.hebeihuisheng.com/ 备案号:冀ICP备16028451号-5

专业生产安装
锅炉除尘器锅炉布袋除尘器生物质锅炉除尘器燃煤锅炉除尘器矿山除尘器脉冲袋式除尘器袋式除尘器配件及除尘整机系列。